Blast Proof Wall Sleeves For MEP Services
Wall Sleeves for Defence Applications
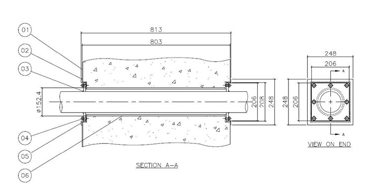
European EMC Products (EEP) manufacture a wide range of wall sleeves primarily designed to offer blast protection and gas tightness in military installations.
The design is extremely flexible and can be adapted for pipes, cables and air ventilation. Additionally with the use of the correct gaskets wall sleeves can also be used for Electro-Magnetic Pulse Protection (EMPP).
All our wall sleeves are built for years of low maintenance operation and have been installed in many UK MOD, NATO and civil facilities.
EEP design and manufacture the wall sleeves for the specific client’s application.
The information required includes the following:
- Diameter of wall sleeve
- Thickness of the wall
- Blast resistance required
- Services to pass through the wall sleeve
- Material preference
- Air tightness required
- EMP protection required
Wall sleeves from 20 mm up to 900 mm diameter can manufactured.
Examples of various diameter wall sleeves.

Disclaimer
NB: All the information provided within this datasheet is for reference only. Product specifications are subject to change without notice.